Skip headerimageimage
ContentsPreviousNextHelp

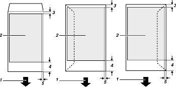
Printable area

Printable and unprintable areas

layout

  1. Feed Direction

  2. Printable Area

  3. 3 mm (0.118 inches)

Note

layout

  1. Feed Direction

  2. Printable Area

  3. 8 mm (0.4 inches)

  4. 38 mm (1.5 inches)

  5. 5 mm (0.2 inches)